Цена по запросу

  • Описание

Описание

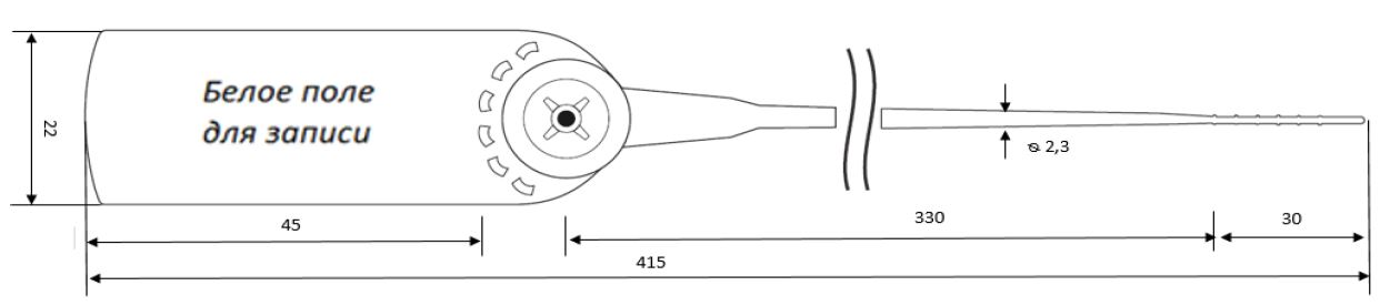
Бирка цветового кодирования для грузозахватных приспособлений, систем обеспечения безопасности работ на высоте, инструментов и приспособлений, лестниц.

Материал: полипропилен устойчивый к перепадам температур.

Замковый механизм одностороннего хода. Неразъемный. Бирка оснащена «Белым полем для записей», позволяющей наносить дополнительную информацию шариковой ручкой, маркером, специальным устройством (клеймом). Поставка в полной заводской готовности.
Перед изготовлением обязательное согласование макета изделия.

Цвет в ассортименте: белый, серый, красный, оранжевый, синий, зеленый, желтый, черный

С этим товаром также покупают

logo